While most people only woke up to the 3-D video revolution over the course of the last year, the brains over at Apple have been working on the problem for the better part of the last decade. Last month, Apple received approval from the U.S. Patent Office on a five-year-old patent detailing how Steve Jobs and company would produce a 3-D screen that viewers could use without any glasses. Even better, the patent outlines a Kinect-like interface that allows users to control digital 3-D objects as if they existed in real space.
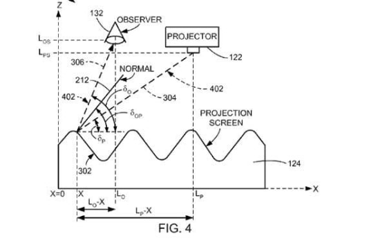
Apple's particular innovation involves combining those screens with a projector and a tracker. The screen style highlighted in the patent only provide the illusion of depth when viewed at specific angles. Apple's patent shows that the device would track the location of the user, altering the image to maintain an 3-D illusion regardless of the user's position. Of course, that tracker also serves as a 3-D input for any computer, and Apple's scientists also envision this system running 3-D interactive programs.
"For example, the 3-D display system can present an unobtrusive 3-D virtual desktop (not shown) to the observer in the virtual display volume. The observer is then able to manipulate objects within the desktop by reaching into the virtual display volume and 'grasping,' 'pushing,' or otherwise manipulating the virtual objects as if they were actually present (which they appear to be)," reads the patent.
"The manipulation of the virtual objects occurs because the feedback mechanism recognizes observer movements, such as finger movements, at the locations of the virtual objects and reconfigures the display of the virtual objects in response thereto."
Forget the Kinect — the Mac brains want you reaching into your iPhone, not just sliding your fingers across it.
The screen, which Apple has not announced anything official about, uses the same trick as the Nintendo DS : lenticular 3-D. In lenticular 3-D, the screen is not a flat surface, but a series of tiny dome-shaped lenses. Two images — a left and a right — pass through the small lenses, and distort in a way to create the illusion of depth. Viola, 3-D without the funny-looking head gear.
However, there are some drawbacks. For one, the patent also includes an eye-tracking component, which implies that only one user at a time can experience the full range of 3-D. Additionally, previous attempts at mass producing high quality lenticular screens have only worked on smaller, portable screens.
If only Apple made small, portable products with screens that users would want to interact with in 3-D. They should probably get on with developing a few of those...
